北京中村宇极科技有限公司成立于2011年04月01日,注册地位于深圳市光明区玉塘街道玉律社区玉星路63号1栋401-404。法定代表人:蒋衡亮。一般经营项目是:电子材料、电子元器件、LED相关产品、电子产品及周边产品的技术开发与销售;服装贴纸、服装、服饰的设计与销售;消毒纸巾、美容面膜、洗手液的科技开发和销售;生物制品的科技开发与销售;口罩,体温枪,体温计、无纺布、无尘纸产品的开发与销售;投资兴办实业(具体项目另行申报);国内贸易、货物及技术进出口(法律、行政法规、国务院决定规定在登记前须经批准的项目除外)。无纺布、无尘纸产品的生产。,许可经营项目是:电子材料、电子元器件、LED相关产品、电子产品及周边产品的生产;第二类医疗器械生产。生物制品的销售。
根据裁判文书网以及天眼查、企查查、启信宝等知名企业信息查询平台上,该公司历史上与合作企业发生相关纠纷,各大企业信息查询平台通过互联网爬虫技术,将该诉讼信息爬取显示,具体显示为:
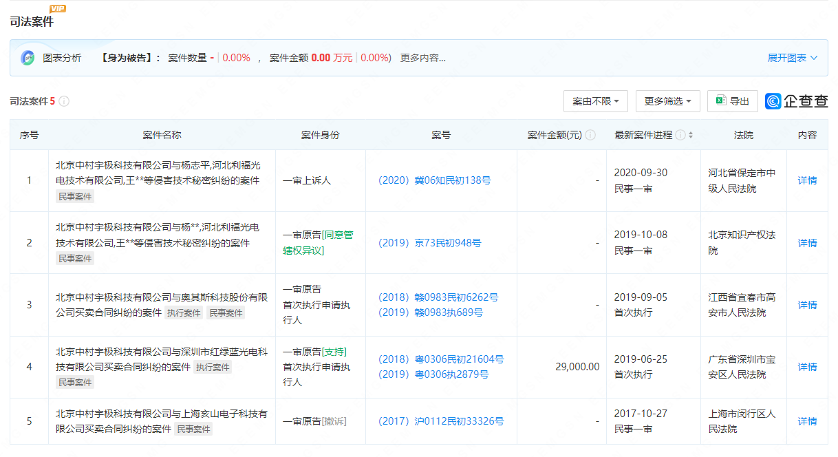
一、在APP“企查查”中,北京中村宇极科技有限公司作为诉讼当事人、行政处罚当事人,企业风险信息仍旧有如下公示记录(部分截图):



二、在APP”“天眼查”中,北京中村宇极科技有限公司作为诉讼当事人、行政处罚当事人,企业风险信息仍旧有如下公示记录(部分截图):


三、在APP“启信宝”中,北京中村宇极科技有限公司作为诉讼当事人、行政处罚当事人,企业风险信息仍旧有如下公示记录(部分截图):


目前由于该公司没有进行完全信用修复,上述不良信息记录依旧被第三方平台记录,甚至归属于经营风险。“罚与信”信息平台在进行企业信用调查时,发现,部分求职者和合作企业因为通过天眼查、企查查等平台很容易就查到上述不良记录,故而对于该公司依旧存在一定疑虑,表示在同等条件下,更倾向于选择没有类似上述不良记录的竞争企业进行合作。对此,“罚与信”平台认为,该公司作为一家成立时间较长的企业,应当尽快进行信用修复,以免被求职者和潜在客户误会历史企业信用问题。